全国威客凤凰楼,足浴店699套餐女的能干嘛全国上课品茶论坛,佛山一品香论坛网,一品楼全套

要搞性能车?丰田申请V8双涡轮增压发动机专利

日前,我们从相关渠道获悉,丰田汽车已经正式申请了全新V8双涡轮增压发动机的专利。未来这项技术将被应用在哪款车型上我们还不得而知,但是有很大可能将应用在雷克萨斯的车型当中。那么问题来了,你会为大排量的丰田而买单吗?

要搞性能车丰田申请V8双涡轮增压发动机专利-图1

此前很长一段时间,丰田乃至雷克萨斯旗下的车型都鲜有搭载超过六缸发动机的,难道丰田这是要与目前的全球电气化发展背道而驰吗?其实对于消费者来说这些都无所谓,无论是电动车还是大排量都是一样的开,但是某些国家和地区的高额排量税、以及积分法规或成为丰田全新V8双涡轮增压发动机的拦路虎。

要搞性能车丰田申请V8双涡轮增压发动机专利-图2

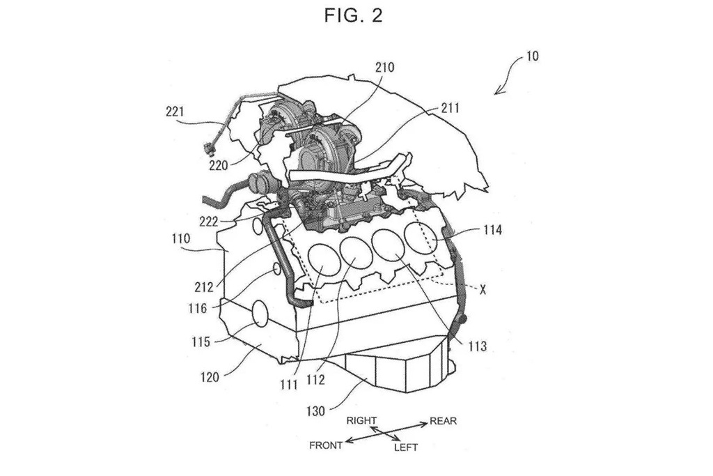
从技术层面来看,丰田本次申请专利的V8双涡轮增压发动机将涡轮整体向进气歧管靠近,这么做的好处是能够降低涡轮迟滞的时间,从而提升动力的相应速度。而专利中还有一些细节,比如可以单涡轮和双涡轮进行切换,并借此推出多种动力参数的发动机供消费者选择。据外媒猜测,这款发动机的最大功率能够达到608马力。

要搞性能车丰田申请V8双涡轮增压发动机专利-图3

尽管丰田已经申请好了专利,不过距离这款全新发动机的正式投入使用应该还有一段时间,而且有消息称,这款发动机还将应用在丰田坦途的高性能版车型上。

雷克萨斯LX频道

雷克萨斯LX

最大功率 300kW 排量 3.4T 最大马力 408Ps 驱动方式 前置四驱

发表评论0条评论

热门评论

全部评论

Copyright ? 1999 - cheshi.com. All Rights Reserved. 版权所有 豪车事

京ICP备15067519号-3 京公网安备:11010502034780

经营性网站 备案信息