全国威客凤凰楼,足浴店699套餐女的能干嘛全国上课品茶论坛,佛山一品香论坛网,一品楼全套

Ram1500皮卡申请新的坦克掉头技术专利,号称成本减半

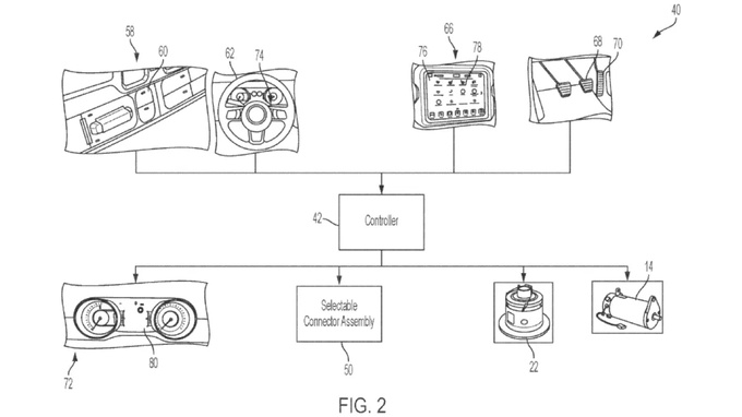
Ram1500的母公司FCA/Stellantis在美国专利商标局注册 一项新的技术专利。未来Ram 1500皮卡(或其他越野车辆)可能会配备一项全新的复杂的坦克掉头系统。

现在已经停产的Rivian皮卡坦克转弯,以及最近推出的电动奔驰G级及其G-Turn在这些车辆中,每个车轮的电动机控制着独特的机动动作。FCA的专利表明,这不是正确的做法:“这种系统非常昂贵,因为它们需要四台电动机、四台功率逆变器以及相关的高压电缆和组件。”

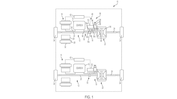
该专利的基本原理是Stellantis设计采用了行星齿轮差速器,两个半轴,和一个变速箱。但有一点小问题,这些机械组件只能控制一个轴,为了使该系统工作,它需要在另一组车轮上安装一对车轮。

对于两个差速器和两个变速箱,您需要两个推进源或一种将每个组件连接到一个马达的方法。该专利提到每个轴单元一个电动机,这肯定会比一组四个电动机及其相关硬件更有效和更具成本效益。这样的系统也可以利用混合动力传动系统的独特性能,只要电动机和内燃机不相互依赖和支持。

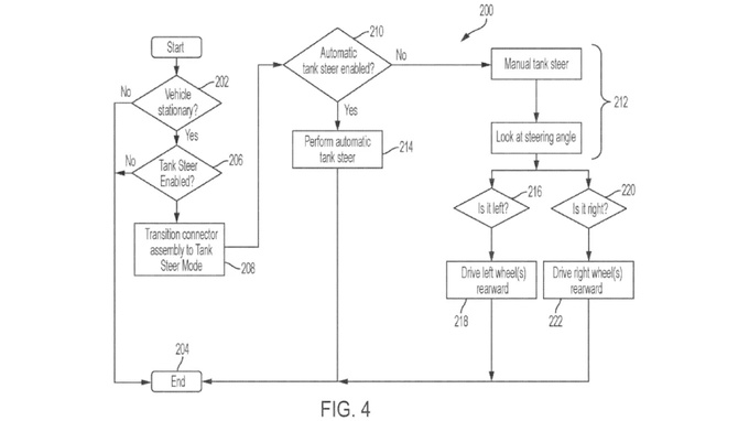
该专利的其余部分详细讨论了齿轮、差速器和轴是如何以及何时接合和分离的,但这里没有什么特别新的东西。在世纪之交,军事承包商探索了离合器制动、三重差速器设置、齿轮转向和双驱动系统等想法。当然,每一种都有自己的优点和缺点,但任何此类系统最常见的缺点之一是实现长期的可靠性。当这种强烈机动的扭矩需求和热副作用一次又一次地通过机械部件时,这种可靠性是特别难以实现的。

虽然这项专利提出了系统的替代方案,可以将车辆中昂贵的电机数量减少一半,但额外的硬件可能会让这个想法的实现困难重重。那么,为什么要为这个想法申请专利呢?因为电动机价格昂贵,任何提高效率的方法都值得探索,如果不是在今天的汽车上实施,可能用于未来的电动汽车和氢动力皮卡。

RAM Trucks霸王龙频道

发表评论0条评论

热门评论

全部评论

Copyright ? 1999 - cheshi.com. All Rights Reserved. 版权所有 豪车事

京ICP备15067519号-3 京公网安备:11010502034780

经营性网站 备案信息