全国威客凤凰楼,足浴店699套餐女的能干嘛全国上课品茶论坛,佛山一品香论坛网,一品楼全套

Ram申请新专利:将保险杠踏板变成超跑般性能工具

福特和通用都在积极地申请各种发明专利,将皮卡的后备箱和前备箱变成各种各样新的扩展工具。Ram也不甘落后。近日,Ram向美国专利商标局提交了一项新创新——这些新型加速皮卡中的一辆或多辆可能会采用主动空气动力学设计,配备功能齐全的可展开扩散器。该专利申请展示了一种主动空气动力装置,可兼作皮卡车的保险杠踏板。

Ram申请新专利将保险杠踏板变成超跑般性能工具-图1

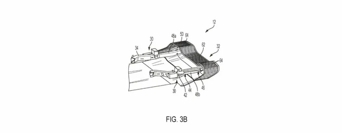
该设计展示了一款皮卡的保险杠,“其底部平坦,可充当扩散器”,并且可以使用简单的执行器和阻尼器组合以电子方式展开该保险杠踏板。这将从后饰板下方延伸(可能连接到皮卡的车架),并且由于中间有一个凹槽,因此可以提供两个踏脚高度。这个凹槽还可以提供一个空间,以便车辆的牌照可见。

Ram申请新专利将保险杠踏板变成超跑般性能工具-图2

不使用时,保险杠会缩回,使低速时车后空气流动更畅通,从而打造出时尚的外观,并保持皮卡的最大离地间隙和离去角。在较高速度下,保险杠阶梯式扩散器会展开,从而提高稳定性。但 Ram 如何计算出塑造这种平底保险杠的最佳角度?

Ram申请新专利将保险杠踏板变成超跑般性能工具-图3

该扩散器元件的底部有执行器在工作了——为什么不使用它们来旋转保险杠呢?这正是该设计所提出的,建议旋转度高达16度。据推测,这将允许皮卡控制尾流分离和闭合,确保最佳的空气动力学流动,无论车厢是否有盖子或是否装有合适的工具箱。该专利特别指出,可以在“赛道”上实现高水平的下压力,但日常用户会更被改善行驶里程和高速公路稳定性的承诺所吸引。

Ram申请新专利将保险杠踏板变成超跑般性能工具-图4

Ram申请新专利将保险杠踏板变成超跑般性能工具-图5

同样,法拉利也提出了类似的可变角度排气系统,911 GT3 RS 在空气操纵方面堪称大师级,但 Ram(或整个 Stellantis 集团)最近也非常注重空气动力学。我们最近发现,他们计划将Charger Daytona的R-Wing变成一个可调节元素。我们期待看到 Stellantis 还会推出什么新东西,但不要指望几年内,配备主动空气动力学的全电动超级皮卡才会出现在您当地的Ram Trucks经销商处。

RAM Trucks霸王龙频道

发表评论0条评论

热门评论

全部评论

Copyright ? 1999 - cheshi.com. All Rights Reserved. 版权所有 豪车事

京ICP备15067519号-3 京公网安备:11010502034780

经营性网站 备案信息