全国威客凤凰楼,足浴店699套餐女的能干嘛全国上课品茶论坛,佛山一品香论坛网,一品楼全套

山海炮

关注

皮卡界就是一个大大的"卷“字,这些货箱设计一个比一个能装

放眼全球的汽车市场,不论是产品技术的迭代,还是硬件配置的更新,都离不开一个“卷"字,动力卷、油耗卷、价格也卷,而在皮卡市场中,货箱也成为了最近内卷的领域。近日,美国两大汽车巨头分别申请了货箱专利,其中通用申报的可伸缩增长至2.4米的标准货箱版引起了广泛关注,而这种类似的货箱技术数不胜数,今天我们就来盘点一下那些新奇的货箱技术。

货箱、尾门专利:

通用皮卡货厢扩展系统

皮卡界就是一个大大的

皮卡界就是一个大大的

皮卡界就是一个大大的

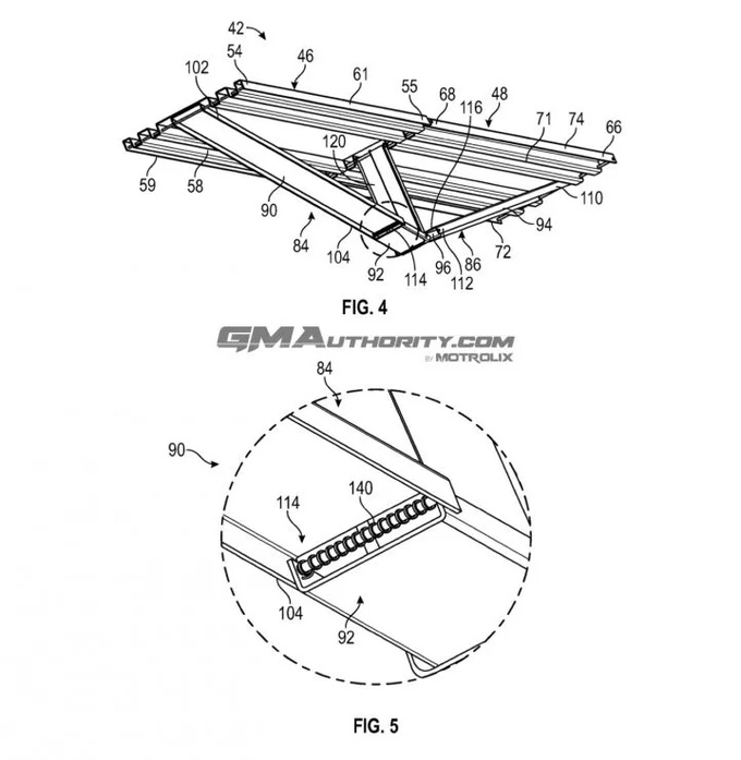
这款技术最值得一提的亮点是一种可扩展的后挡板,可以创建长达8英尺(约2.4米)的可伸缩长货箱系统。在设计中,后挡板和地板将向后滑动以拉长货物区域,并可选择铰接面板,该铰接面板可以完全封闭后挡板和货箱壁之间的区域。

皮卡界就是一个大大的

皮卡界就是一个大大的

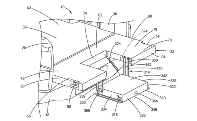
而在此之前,通用汽车还公布了“皮卡具有动态可调箱”的专利申请,工作流程为货箱分为上半部分和下半部分,下半部分安装在皮卡的底盘上,上半部分能够延伸以形成更大的货箱。后保险杠也可以连接到上层货箱上。

此次针对标准货箱长度能够增长至2.4米,那么对于以后标准货箱、长货箱将是一个全新的定义划分。

通用可折叠坡道系统

皮卡界就是一个大大的

皮卡界就是一个大大的

皮卡界就是一个大大的

皮卡界就是一个大大的

这个装置的作用是可以将物品更容易的装载到皮卡的货箱中,其中斜坡部分可以分解成铰链连接在一起的特定区域,可折叠成V字结构,从而帮助将这些物品装入货箱中,而无需人提起这些物品,这种装置采用一个易于存放的低接近角,同时仍提供高度的承重能力,平衡好易存放和好使用之间的矛盾。此外可以安装在皮卡货箱头,便于不使用时存放。

而这种斜坡主要用于装载货物,如果以后国内入门级的商用皮卡均可选装这种装置,那么将对运载效率和出工量将是很大的提升。

福特货箱隔间技术

皮卡界就是一个大大的

皮卡界就是一个大大的

在福特的用户人群中,喜欢越野、经常体力劳动的人群是大多数,所以福特对于货箱空间这方面要求的较为严苛。近日福特针对如何才能不增加车辆尺寸或缩小驾驶室尺寸,从而加强货箱容积的方法,其中最简单是在货箱上增加一个整洁的隐藏小隔间。

福特表示,通过将货箱地板延伸到纵向末端之外,可以使这个货箱更实用,从而创造一个更大的工作空间。

皮卡界就是一个大大的

其中一种可能性是将货箱底层出设计多个旋转的地板部分,可像手风琴一样拉开,另一个可能性是延伸的货箱地板可以折叠起来,堆叠成一堆短板;

皮卡界就是一个大大的

此外,还有一种设计是将延伸部分可以滑进或滑出常规货箱地板,将地板用作一种护套,最后一种想法是将地板部分堆叠成一排,并与货箱舱壁相对,当需要更长的时候展开;以及货箱底层可以加深,从而有更多储存空间。

福特申请的货箱尾门

皮卡界就是一个大大的

皮卡界就是一个大大的

除了针对于货箱内部的空间延伸,福特还申请了一种新型多功能后挡板。其中包括货箱后踏板、可将货箱门拉伸平开、以及在滑动横梁上安装机械臂等设计,如果这些设计能够量产,那么将对当今皮卡行业的货箱装载领域,将是一个质的飞跃。

Rivian R1T折叠/升降/多段式尾门专利

Rivian R1T并没有在国内上市,但它的皮卡车型可是能和福特等老牌车企相媲美。最近其车企也公布了3种货箱尾门专利。

皮卡界就是一个大大的

皮卡界就是一个大大的

皮卡界就是一个大大的

皮卡界就是一个大大的

其中第一种是升降式尾门设计,即货箱尾门中央位置能够在尾门打开时,根据用户需求升降,帮助用户更加方便地进入货箱内部;第二种是折叠式侧开功能,尾门可以沿着固定轨道滑动,可以让用户拿出或放置物品更轻松;第三种是多段式开闭式尾门,货箱尾门中央部分可以独立开闭,同时独立部分的上部也能单独开闭,方便用户在不完全展开尾门的情况下放置物品。

已推出车型:

2024款福特-F150:Pro Access尾门

皮卡界就是一个大大的

皮卡界就是一个大大的

皮卡界就是一个大大的

相较于传统皮卡的平开式尾门,2024款的福特F-150在这一部分上进行了大胆创新,可以再在传统的下翻式车门中间加入了一个简单的外摆式车门。可提供37度、70度、100度3种不同的开启角度,其中37度的开启角度由于比较小,所以可以在连接拖车的情况下打开。

丰田电动皮卡EPU:折叠式尾门

皮卡界就是一个大大的

皮卡界就是一个大大的

皮卡界就是一个大大的

丰田电动皮卡EPU的尾门设计是最接近于上述所申请专利的一种,其搭载可折叠尾门,可以作为短货箱的延伸,但由于货箱整体尺寸较小,所以延伸出去的部分十分有限。

长安览拓者探索版:双段式开启尾门

皮卡界就是一个大大的

皮卡界就是一个大大的

长安览拓者探索版首次在国内皮卡上搭载了双段式尾门,可以实现三种开启方式,上半截可以部分开启。尾门整体打开后中间部分继续往下呈垂直状,将内壁上的一块附板打开,可形成一级台阶,便于多元化用车场景使用。

长城山海炮:6:4对开+平开尾门

皮卡界就是一个大大的

皮卡界就是一个大大的

皮卡界就是一个大大的

长城山海炮国内首创6:4对开+平开尾门设计。尾门对开时可以让用户更加贴近货箱内部,取放物资更方便,并支持电动控制。尾门平开时,在户外活动可兼任延展工作台功能。

山海炮频道

山海炮

最大功率 137kW/265kW 排量 2.4T/3.0T 最大马力 186Ps/360Ps 驱动方式 前置四驱

发表评论0条评论

热门评论

全部评论

Copyright ? 1999 - cheshi.com. All Rights Reserved. 版权所有 豪车事

京ICP备15067519号-3 京公网安备:11010502034780

经营性网站 备案信息