全国威客凤凰楼,足浴店699套餐女的能干嘛全国上课品茶论坛,佛山一品香论坛网,一品楼全套

轻松将物品装到货箱,通用汽车获可折叠皮卡货箱坡道专利

皮卡最能发挥个性的就属它那独特的货箱了。老外在皮卡货箱上真是玩得花样百出。此前我们报道过福特申请的一种新专利,通过改造皮卡货箱和后挡板,使底盘更长而不增加车辆尺寸或缩小驾驶室尺寸的方法。现在通用也有针对货箱的新型专利了!

轻松将物品装到货箱通用汽车获可折叠皮卡货箱坡道专利-图1

通用汽车已经为一种用于皮卡货箱的新型可折叠坡道设计提交了专利申请。新的通用汽车专利申请已在美国专利商标局(USPTO)获得专利申请号US 2024/0017657 A1。该专利并于2022年7月份提交到了泰国,最终在2024年1月18日在泰国通过并公布。来自密歇根州伯明翰的布莱恩·v·卡斯蒂略被列为发明人。

轻松将物品装到货箱通用汽车获可折叠皮卡货箱坡道专利-图2

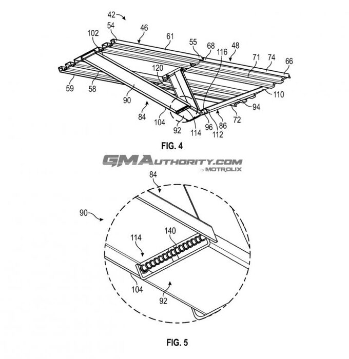
该专利申请描述了一种可折叠的坡道系统,旨在更容易地将物品装载到皮卡的货厢中。斜坡部分被分解成通过铰链连接在一起的特定区域。这种铰链包含一个张力元件以及可折叠的支撑部分,这些支撑部分可以折叠成V形结构。专利图片还描述了可折叠坡道,可安装在皮卡货箱头,便于在不使用时存放。

轻松将物品装到货箱通用汽车获可折叠皮卡货箱坡道专利-图3

正如专利申请所指出的那样,皮卡通常用于装载重型物品,如全地形车、摩托车、割草机和类似物品。因此,坡道是优选的,以帮助将这些物品装入货箱中,而无需人肉提起这些物品。

轻松将物品装到货箱通用汽车获可折叠皮卡货箱坡道专利-图4

虽然较短的坡道更容易存放物品,但较长的坡道装载物品的角度较小??悸堑秸庖坏?,可折叠坡道解决方案是首选。然而,可折叠坡道带来了不同的挑战,即有限的承重能力。为了生产具有足够承重能力的可折叠坡道,通常使用更重的材料,以及更厚、更坚固的结构轮廓。然而,由较重的材料制成的较厚的坡道会使坡道变得笨重并且难以在不用时放置起来。

轻松将物品装到货箱通用汽车获可折叠皮卡货箱坡道专利-图5

考虑到所有这些因素,这种可折叠坡道设计旨在创造一个易于存放的低接近角,同时仍提供高度的承重能力,平衡好易存放和好使用之间的矛盾。

游骑侠Ranger频道

游骑侠Ranger

最大功率 137kW/190kW 排量 2.3T 最大马力 186Ps/258Ps 驱动方式 前置后驱

发表评论0条评论

热门评论

全部评论

Copyright ? 1999 - cheshi.com. All Rights Reserved. 版权所有 豪车事

京ICP备15067519号-3 京公网安备:11010502034780

经营性网站 备案信息